一、证券市场回顾
同花顺数据显示,昨日(01月03日,下同),上证综指日内上涨0.88%,收于3116.51点,最高3119.86点;深证成指日内上涨0.92%,收于11117.13点,最高11134.96点;创业板指日内上涨0.41%,收于2356.42点,最高2361.55点。北向资金由上个交易日的流入0.93亿元转变成流出6.45亿元。
二、ETF市场表现
1、股票型ETF整体市场表现
昨日股票型ETF收益率中位数为0.89%。其中按照不同分类,规模指数中万家国证2000ETF收益率最高,为2.49%;行业指数中国泰中证全指软件ETF收益率最高,为5.07%;策略指数中国泰富时中国国企开放共赢ETF收益率最高,为1.71%;风格指数中国寿安保创精选88ETF收益率最高,为2.77%;主题指数中富国中证大数据产业ETF收益率最高,为5.7%。

2、股票型ETF涨跌幅排行
昨日股票型ETF涨幅最高的3支ETF及其收益率分别为:富国中证大数据产业ETF(5.7%)、华夏中证大数据产业ETF(5.66%)、华宝大数据ETF(5.49%)。涨幅前10详情见下表:

昨日股票型ETF跌幅最大的3支ETF及其收益率分别为:华夏中证旅游主题ETF(-1.99%)、酒ETF(-1.77%)、建信中证饮料主题ETF(-1.77%)。跌幅前10详情见下表:

3、股票型ETF资金流向
昨日股票型ETF资金流入最多的3支ETF及其流入金额分别为:华夏上证科创板50成份ETF(流入8.45亿元)、南方中证500ETF(流入7.97亿元)、华夏上证50ETF(流入5.76亿元)。资金流入前10详情见下表:
sa
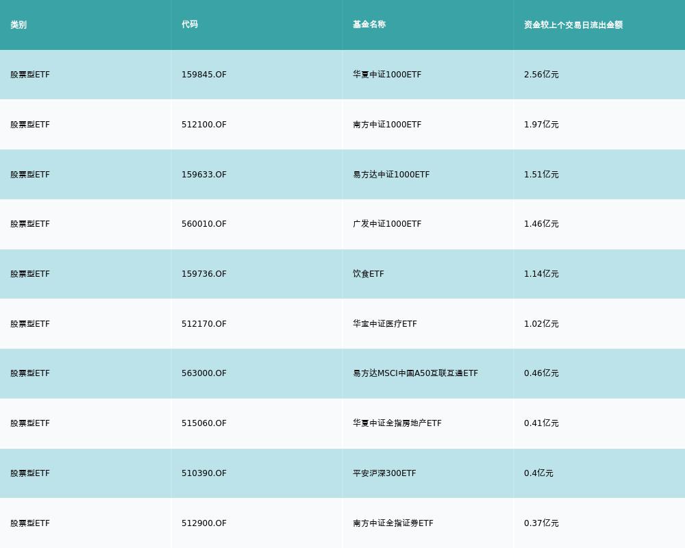
昨日股票型ETF资金流出最多的3支ETF及其流入金额分别为:华夏中证1000ETF(流出2.56亿元)、南方中证1000ETF(流出1.97亿元)、易方达中证1000ETF(流出1.51亿元)。资金流出前10详情见下表:

三、机构观点
①大数据重要性凸显 打造“数字孪生底座”
华鑫证券认为,数字经济提振下,政府和企业数字化转型需求旺盛。在数字化深入各行各业及相关产品业务推陈出新下,大数据重要性凸显。通过打造数字化场景、智慧化模拟、精准化决策兼具的“四预”样板工程,为其装上“数字孪生底座”。在国家数字经济战略落地及下游需求提升的大背景下,市场正处于快速发展期。
②亚洲云计算市场发展潜力较大 整体产业呈现稳健发展的良好态势
中邮证券指出,当前,云计算已经成为全球信息产业界公认的发展重点,各国政府积极通过政策引导、资金投入等方式加快本国云计算的战略布局和产业发展。目前北美地区占据云计算市场的主导地位,以中国为代表的亚洲云计算市场发展潜力较大,整体产业呈现稳健发展的良好态势。中邮证券认为当前运营商大体量、高成长的云计算业务并未体现合理估值,相较当前市值仍有较大提升空间。建议重点关注市占率绝对领先,传统业务与数字化业务齐头并进的电信运营商龙头。

本文转自 新浪新闻,原文链接:https://finance.sina.com.cn/roll/2023-01-04/doc-imxyyvkr5844826.shtml,如需转载请自行联系原作者